Меню
Корзина 00.00 ₽
    Поддержка
    • +7 (495) 380 06 23
    • +7 (800) 707 73 75

    Москве
    • +7 (495) 380 06 23
    • +7 (800) 707 73 75
    • Обратный звонок
      Заказать обратный звонок
    Каталог
      Поиск
      • О нас
      • Доставка
      • Оплата
      • Документы
      • Статьи
      • Контакты
      • +7 (495) 380 06 23
      • +7 (800) 707 73 75
      • Обратный звонок
      Заказать обратный звонок
      info@tdchiz.ru
      Скопировать почту
      Москве

      ТД «ЧЕЛЯБИНСКИЙ
      ИНСТРУМЕНТАЛЬНЫЙ
      ЗАВОД»

      Корзина 00.00 ₽
      Корзина
      Ваша корзина пуста!
      • Измерительный инструмент
      • Калибры
      • Приборы для нефтяной и газовой промышленности
      • Станочная оснастка и приспособления
      • Железнодорожные шаблоны
      • Приборы
      • Режущий инструмент
      • Слесарный инструмент
      • Штангенциркули ШЦ-1
      • Микрометры МК гладкие
      • Нутромеры индикаторные
      Глубиномеры Измерительные головки, микаторы, микрокаторы Индикаторы Кольца образцовые, установочные Линейки Меры длины Меры твердости Метры складные Микрометры Наборы щупов
      Нутромеры Образцы шероховатости (ОШС) Пластины стеклянные типа ПМ, ПИ Плиты поверочные и разметочные Призмы поверочные Принадлежности к измерительному инструменту Проволочки и ролики Разметочный инструмент Рулетки Секундомеры
      Скобы Стенкомеры Стойки и штативы Толщиномеры Угломеры Угольники Уровни Шаблоны сварщика Штангенинструмент Штангенциркули
      • Микрометр МК-  25 0,01 ЧИЗ* 5.0 Микрометр МК- 25 0,01 ЧИЗ*

        3 973.67 ₽ 4 415.19 ₽

      • Штангенциркуль ШЦ-1-125 0,1 ЧИЗ 5.0 Штангенциркуль ШЦ-1-125 0,1 ЧИЗ

        1 762.60 ₽ 1 958.44 ₽

      • Индикатор часового типа ИЧ- 10 0,01 с ушком ЧИЗ* 5.0 Индикатор часового типа ИЧ- 10 0,01 с ушком ЧИЗ*

        3 653.81 ₽ 4 059.79 ₽

      • Линейка измерительная  150х19мм металлическая ЧИЗ* 5.0 Линейка измерительная 150х19мм металлическая ЧИЗ*

        140.00 ₽

      Калибры нефтяные Калибры промышленные
      Микрометры МКН Штангентрубомер ШТН
      Втулки переходные Защитные экраны для станков Крепежная оснастка (УСП) Оправки Патроны сверлильные, токарные и т.п Резцедержатели, держатели сверл Столы поворотные, неповоротные Тиски станочные
      Шаблоны ЖД Щупы ЖД
      Биениемеры Инструментальные микроскопы Квадранты Лабораторное оборудование Метрологическое оборудование Оптиметры Принадлежности Прочие приборы
      Буры Воротки для метчиков и плашек Метчики для резьбы Плашки Полотна ножовочные по металлу Сверла Токарные резцы Фрезы
      Бородки слесарные Гвоздодеры Головки сменные и принадлежности Зубила Инструментальные наборы Кернеры Клейма Ключи
      Кувалды Кусачки Лопатка монтажная (монтировка) Молотки Надфили Напильники Ножницы Отвертки
      Плоскогубцы Рамки ножовочные Рашпили Тиски слесарные Топоры Щетки металлические Ящики и сумки инструментальные
      • Акции
      • Распродажа склада
      • Прайс лист
      • Старая версия сайта
      Каталог Поиск Корзина Корзина 00.00 ₽ Сравнение Войти
      Авторизация
      Забыли пароль?
      Регистрация

      Толщиномер индикаторный электронный ТРЦ 0- 12 0,001 (21мм) ручной 547-401 Mitutoyo

      • Главная
      • Измерительный инструмент
      • Толщиномеры
      • Толщиномер индикаторный электронный ТРЦ 0- 12 0,001 (21мм) ручной 547-401 Mitutoyo
      Толщиномер индикаторный электронный ТРЦ  0- 12 0,001 (21мм) ручной 547-401 Mitutoyo
      Толщиномер индикаторный электронный ТРЦ 0- 12 0,001 (21мм) ручной 547-401 Mitutoyo 0.00 ₽  без НДС
      Толщиномер индикаторный электронный ТРЦ 0- 12 0,001 (21мм) ручной 547-401 Mitutoyo
      Толщиномер индикаторный электронный ТРЦ  0- 12 0,001 (21мм) ручной 547-401 Mitutoyo
      Толщиномер индикаторный электронный ТРЦ  0- 12 0,001 (21мм) ручной 547-401 Mitutoyo
      Толщиномер индикаторный электронный ТРЦ  0- 12 0,001 (21мм) ручной 547-401 Mitutoyo
      Толщиномер индикаторный электронный ТРЦ  0- 12 0,001 (21мм) ручной 547-401 Mitutoyo
      Толщиномер индикаторный электронный ТРЦ  0- 12 0,001 (21мм) ручной 547-401 Mitutoyo
      Толщиномер индикаторный электронный ТРЦ  0- 12 0,001 (21мм) ручной 547-401 Mitutoyo
      Толщиномер индикаторный электронный ТРЦ  0- 12 0,001 (21мм) ручной 547-401 Mitutoyo
      Толщиномер индикаторный электронный ТРЦ  0- 12 0,001 (21мм) ручной 547-401 Mitutoyo
      Фото может не соответствовать внешнему виду. Производитель оставляет за собой право изменять внешний вид изделия с целью улучшения эксплуатационных характеристик.
      Характеристики
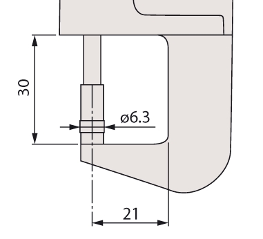
      Диапазон измерений 0-12
      Тип ТРЦ
      Цена деления, мм 0,001
      Все характеристики
      Под заказ
      Код товара: 300327
      MITUTOYO Производитель

      Подобрать аналог
      • Код товара: 300327
      Поделиться
      Поделиться
      Подобрать аналог

      Нужна консультация по подбору аналога?
      Оставьте ваши контактные данные

      Толщиномер индикаторный электронный ТРЦ 0- 12 0,001 (21мм) ручной 547-401 Mitutoyo
      0.00 ₽
      • Физическое лицо
      • Юридическое лицо
      Согласен на обработку моих персональных данных
      Похожие товары
      • Толщиномер ЛКП (лакокрасочного покрытия) HW-300S МИК В наличии: 91 шт. 1114524 Толщиномер ЛКП (лакокрасочного покрытия) HW-300S МИК

        4 489.71 ₽

      • Стенкомер индикаторный С-10 0,01 (0-10) L=120 SHAN В наличии: 10 шт. 861863 Стенкомер индикаторный С-10 0,01 (0-10) L=120 SHAN

        -17 889.17 ₽ 19 876.85 ₽

      • Толщиномер д/измер. покрытий (память на 10 значений) DIGI-DERM 720 179-720F5 Mitutoyo В наличии: 2 шт. 132429 Толщиномер д/измер. покрытий (память на 10 значений) DIGI-DERM 720 179-720F5 Mitutoyo

        259 123.61 ₽

      • Толщиномер индикаторный электр. ТРЦ 0- 10 0.001 SHAHE В наличии: 8 шт. 1086889 Толщиномер индикаторный электр. ТРЦ 0- 10 0.001 SHAHE

        32 713.17 ₽

      • Толщиномер индикаторный ТР 0- 1 0,001 для мягких материалов ЧИЗ В наличии: 24 шт. 1134498 Толщиномер индикаторный ТР 0- 1 0,001 для мягких материалов ЧИЗ

        -25 196.39 ₽ 29 642.81 ₽

      Описание
      Толщиномер типа ТРЦ с постоянным измерительным усилием предназначен для измерения толщины листовых материалов (резина, кожа, фанера и др.). Прибор представляет собой скобу, в которую установлен цифровой индикатор в качестве отсчетного устройства, а также неподвижная пятка. Для отвода измерительного наконечника индикатор снабжен арретиром.
      Прибор поставляются в деревянном или пластиковом футляре и снабжен паспортом изделия, где прописаны все нормы эксплуатации.
      Технические характеристики толщиномер индикаторный электронный ТРЦ 0- 12 0,001 (21мм) ручной 547-401 Mitutoyo
      Характеристики
      Диапазон измерений 0-12
      Тип ТРЦ
      Цена деления, мм 0,001
      Отзывы 0
      • Нет отзывов о данном товаре.
      Написать отзыв
      Согласен на обработку моих персональных данных
      Вопросы и ответы 0
      • Еще не было вопросов
      Задать вопрос
      Согласен на обработку моих персональных данных
      Документация


      Доставка и оплата

      Мы предлагаем удобные условия доставки для наших клиентов, чтобы вы могли получить заказ максимально быстро и комфортно.

      Способы доставки

      Самовывоз

      • Вы можете самостоятельно забрать заказ по адресу: г. Москва, ул. Электродная, д. 2, стр. 19.
      • Подробную схему проезда можно найти в разделе Контакты.
      • Самовывоз возможен только после подтверждения заказа менеджером.

      Курьерская доставка по Москве и Московской области

      Курьерская доставка до двери осуществляется (в том числе курьерскими службами и транспортными компаниями) по предварительному согласованию с персональным менеджером. Стоимость и сроки доставки зависят от объема и адреса.

      Доставка до транспортных компаний

      • Мы бесплатно доставляем ваш заказ от нашего склада до транспортных компаний в Москве.
      • Вы можете выбрать любую транспортную компанию для дальнейшей доставки, включая СДЭК, ПЭК, Деловые Линии и другие.

      Региональная доставка

      Доставка в регионы России осуществляется через транспортные компании. Мы бесплатно доставляем ваш заказ от нашего склада до транспортных компаний в Москве. Услуги транспортных компаний оплачиваются клиентом отдельно, согласно их тарифам. Вы можете выбрать любую транспортную компанию для дальнейшей доставки, включая СДЭК, ПЭК, Деловые Линии и другие.

      Сроки доставки

      Средние сроки доставки зависят от вашего региона и выбранного способа:

      • По Москве и области: от 1 до 3 рабочих дней.
      • По регионам России: от 2 до 14 рабочих дней.

      Часто задаваемые вопросы по доставке

      Где можно забрать заказ самостоятельно?

      Вы можете забрать заказ по адресу: г. Москва, ул. Электродная, д. 2, стр. 19. Самовывоз возможен только после подтверждения заказа менеджером.

      Доставляете ли вы заказы до транспортных компаний?

      Да, мы бесплатно доставляем заказы от нашего склада до транспортных компаний в Москве. Вы можете выбрать любую удобную транспортную компанию для дальнейшей доставки.

      Как осуществляется доставка по Москве и Московской области?

      Доставка до двери по Москве и области согласовывается индивидуально с персональным менеджером. Условия и стоимость зависят от объема заказа и адреса доставки.

      Сколько времени занимает доставка?

      • По Москве и области: от 1 до 3 рабочих дней.
      • В регионы России: от 2 до 14 рабочих дней, в зависимости от удалённости региона и работы транспортной компании.

      Оплата

      Мы предлагаем вариант оплаты для юридических лиц.

      Оплата для юридических лиц

      1. Оформите заказ через корзину на сайте или отправьте заявку с перечнем товаров на нашу электронную почту.
      2. Менеджер свяжется с вами, забронирует товар и отправит счёт на оплату.
      3. Оплатите счёт.
      4. После получения оплаты мы отправим товар вместе с необходимыми документами.

      Особенности работы с юридическими лицами:

      • Для российских организаций мы работаем с НДС.
      • Для компаний из Республики Беларусь и Республики Казахстан товары предоставляются без НДС.

      Часто задаваемые вопросы об оплате

      Какие способы оплаты доступны для физических лиц?

      Для физических лиц оплата осуществляется по ссылке или QR-коду, которые отправляет наш менеджер в электронном письме после оформления заказа.

      Можно ли оплатить заказ от юридического лица с НДС?

      Да, для российских юридических лиц мы работаем с НДС. Для компаний из Республики Беларусь и Казахстан товары предоставляются без НДС.

      Что делать, если я не успел оплатить заказ в течение 3 рабочих дней?

      Если вы не успели оплатить заказ, бронь на товар может быть снята. В этом случае свяжитесь с нашим менеджером, чтобы продлить срок или оформить заказ повторно.

      Какие документы я получу после оплаты?

      Физические лица получают чек от платежной системы и универсальный передаточный документ (УПД). Юридические лица получают товар вместе с пакетом необходимых документов, включая накладные и счет-фактуру (при необходимости).

      Этот товар содержится в каталогах
      Толщиномеры MITUTOYO
      Выберите обязательные опции
      Быстрый заказ
      Согласен на обработку моих персональных данных

      Мы используем файлы cookie и другие средства сохранения предпочтений и анализа действий посетителей сайта. Подробнее в ИСПОЛЬЗОВАНИЕ ФАЙЛОВ COOKIE И ЯНДЕКС.МЕТРИКИ. Нажмите «Принять», если даете согласие на это.

      Принять

      ТД "Челябинский Инструментальный Завод" – производство и продажа измерительного инструмента. ИНН: 7719203926 / КПП: 772001001.

      2009 - 2026

      Покупателям
      • Акции
      • Доставка
      • Сертификаты
      • Прайс лист
      • Каталог PDF
      • Старая версия сайта
      О компании
      • О нас
      • Контакты
      • Вакансии
      Информация
      • Возвраты
      • Гарантия
      • Сервис и ремонт
      • Поверка
      Полезно
      • Политика конфиденциальности и обработки персональных данных
      • Правовая информация
      Поддержка
      • +7 (495) 380 06 23
      • +7 (800) 707 73 75
      • Обратный звонок
        Заказать обратный звонок
      info@tdchiz.ru Скопировать почту
      Пн-Чт: 9:00 - 17:30
      Пт: 9:00 - 16:00
      111524, г. Москва, ул. Электродная,
      д. 2, стр. 7., этаж 4, помещение XI,
      ком. 17

      Акции, скидки, рекомендации ждут!

      Подписаться на рассылку

      ТД "Челябинский Инструментальный Завод" – производство и продажа измерительного инструмента. ИНН: 7719203926 / КПП: 772001001. , 2009 - 2026
      Вы принимаете условия политики конфиденциальности и пользовательского соглашения каждый раз, когда оставляете свои данные в любой форме обратной связи на сайте www.tdchiz.ru.
      Информация, размещенная на настоящем сайте, не является публичной офертой, предусмотренной п.2 статьи 437 Гражданского кодекса РФ, а также, возможно, любыми другими нормами Гражданского законодательства РФ или иностранного государства. Данная информация не выражает волю субъекта, разместившего информацию о товаре на заключение каких-либо отношений, как определенным кругом лиц, так и с неопределенным кругом лиц. Информация, представленная на настоящем сайте, является лишь информацией о достижениях в производственной (или оптово-торговой) сфере, которые смог достигнуть собственник сайта. Информация, предоставленная на настоящем сайте, не может быть использована для заключения, исполнения и прекращения договора купли-продажи, заключаемого дистанционным способом.